稀土耐磨合金管焊接工藝規程
稀土耐磨合金管焊接工藝規程
1 編制依據
依據于稀土耐磨合金管產品技術協議、管道安裝施工圖紙及江蘇江河機械制造有限公司產品企業標準.。
2 管道焊接工藝規程
2.1 材料簡介
稀土耐磨合金管道材質中含有Cr、Ni、Mo、W、V、Cu等多種合金元素,屬合金鋼。管道的硬度較高,耐磨性能較好,相應的抗沖擊、抗彎等機械性能稍差,可焊性稍差,淬硬傾向較大,因此施工時必須嚴格按工藝要求進行。
2.2 工藝流程
2.3 材料檢查
材料進入現場,應對需要焊接的管道坡口及附近外觀,并根據焊接接口型式要求進行檢查,若存在缺陷,應先處理,然后再進行組對焊接。
2.4 對需下料的管材,用氧乙炔火焰或空氣等離子切割機進行切割,現場坡口加工型式應根據焊接接口型式進行加工,具體詳見焊接作業指導書,焊接連接的尺寸按施工圖要求進行。現場用氧乙炔火焰或空氣等離子切割機進行切割時,必須預備石棉布保溫材料,切割后應立即用石棉布保溫切割的管道兩端,使其受熱部位緩慢冷卻,嚴禁快速空冷、風冷或水冷,以防止管道端口開裂,坡口必須根據管道接口型式用砂輪機打磨干凈,并認真清理坡口及坡口兩側10~60mm范圍內的工作表面,清理油污、鐵銹、水分和灰塵等。
2.5 焊接
2.5.1 焊材選用
稀土耐磨合金鋼同種鋼焊接,焊條建議采用奧氏體A102和J507,稀土耐磨合金鋼與Q235-A異種鋼焊接,建議用奧氏體A102和J507。采用A102焊條打底焊接一層,其余焊道采用J507焊條焊接,打底一般選用φ3.2焊條,其余焊道建議選用φ4.0焊條。
電焊條應在焊前均勻進行烘熔,A102焊條和J507焊條烘干溫度一般在150℃左右,或按電焊條使用說明書規定進行,如施焊時焊工應與保溫箱保持一定距離,隨焊隨取,焊條不能多次反復烘干。
2.5.2 焊前預熱
稀土耐磨合金鋼淬硬傾向大,焊接易產生淬硬組織和冷裂紋,所以焊前必須預熱,預熱溫度一般控制在200~250℃范圍內。
預熱熱源采用氧乙炔火焰,加熱時用微碳火焰,根據管道壁厚和直徑大小,可用一個或幾個焊距沿管道周圍來回移動,均勻加熱。加熱寬度為坡口兩側3倍壁厚范圍內,一般在50~100mm范圍內,最小不少于50mm,加熱溫度可用測溫筆進行測量。
2.5.3 定位焊
管道組對好后應進行定位焊,焊點數一般采用三至六點,焊點長為10~30mm,高為2~4mm,定位焊焊接規范與正式焊接相同。
2.5.4 焊接層數
焊接采用多層多道焊。
2.5.5 層間溫度
焊接時應嚴格控制層間溫度在200~250℃范圍內,層間溫度不能過高。
2.5.6 焊后熱處理
為降低焊后冷卻速度,防止淬硬開裂,焊后冷卻到250~300℃,立即用石棉布將焊接接頭包起來自冷。
2.6 焊接注意要點
2.6.1 工作環境
現場焊接,下雨,相對濕度大于等于90%,禁止焊接。
2.6.2 焊接電流選擇
焊接電流按常規焊接規范適當降低,焊速不宜太快,A102焊條、J507焊條焊接時電流一般建議控制在90~150A,立焊、仰焊電流要相應的減小。
2.6.3 操作要點
施焊時,應兩人對焊,保持兩焊點處于對稱位置,焊條不得擺動,并采用短弧焊,窄焊道,多層多道焊,一般每層厚度應等于焊條直徑。焊完各層的每道焊縫后,應用風鏟或錘子進行錘擊,以減少焊接應力。焊接時,應嚴格控制層間溫度,焊完后,為降低冷卻速度,防止淬硬開裂,應用石棉布進行保溫。
焊縫應根據管道壁厚的厚薄決定,一般要在1.5~3mm之間選用為宜。
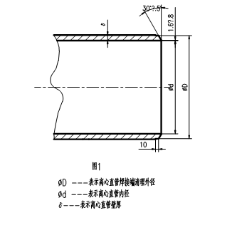
3 焊接接口型式
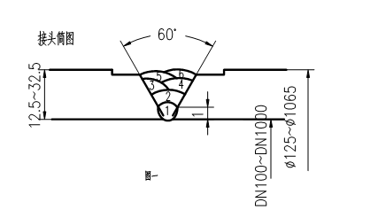
3.1 管道對焊接口坡口型式和尺寸按圖一的規定
3.2 管道與法蘭焊接接口型式和尺寸按圖二的規定

4 主要措施用料一覽表
附表1
焊接工藝作業指導書
焊接方法:電弧焊
機械化程度:手工
焊接接頭:對接 坡口型式:V 簡圖:圖一
δ:18~26 C: 0~2 P: 0~2
母材
材質: 稀土耐磨合金鋼
管徑范圍: DN150~DN900
管壁厚度范圍: 12.5~28mm
焊縫熔敷金屬厚度范圍: SMAW: max 7mm
焊接材料
焊條牌:A102、J507
焊條直徑: φ3.2、φ4.0
焊條烘烤參數:
焊接位置: 全位置
焊工資格: Ws/D3-19、20J
焊接工藝參數:
技術措施
熱規范: 1、預熱溫度:200~250℃
2、預熱方法:氧-乙炔火焰加熱
3、層間溫度:200~250℃
4、測溫方法:測溫筆
5、其它要求:焊后保溫緩冷(石棉布)
擺動焊或不擺動焊:擺動
焊前清理、層間清理、焊后表面清理:砂輪機、鋼絲刷、刨錘
表面清根:砂輪機
多道焊或單道焊:多道焊
多層焊或單層焊:多層焊
禁焊條件:下列環境,禁止施焊
1、 下雨
2、 相對濕度≥90%
附表2:
焊接工藝作業指導書
焊接方法:電弧焊
機械化程度:手工
焊接接頭:對接 坡口型式:V 簡圖:圖一
δ: C: 0~2 P: 0~2
母材
材質: 稀土耐磨合金+Q235-A
管徑范圍: DN150~DN900
管壁厚度范圍: 12.5~28mm
焊縫熔敷金屬厚度范圍: SMAW: max 7mm
焊接材料
焊條牌號:A102、J507
焊條直徑: φ3.2、φ4.0
焊條烘烤參數:
焊接位置: 全位置
焊工資格: Ws/D3-19、20J
焊接工藝參數:
技術措施
熱規范: 1、預熱溫度:200~250℃
2、預熱方法:氧-乙炔火焰加熱
3、層間溫度:200~250℃
4、測溫方法:測溫筆
5、其它要求:焊后保溫緩冷(石棉布)
擺動焊或不擺動焊:擺動
焊前清理、層間清理、焊后表面清理:砂輪機、鋼絲刷、刨錘
表面清根:砂輪機
多道焊或單道焊:單道焊
多層焊或單層焊:多層焊
禁焊條件:下列環境,禁止施焊
1、下雨
2、相對濕度≥90%
【以上文章來源于江蘇江河專注鍋爐燃燒器耐磨耐熱配件的公司(www.jhjx66.com),轉載請注明出處喲!】















